QR కోడ్
మా గురించి
ఉత్పత్తులు
మమ్మల్ని సంప్రదించండి


ఫ్యాక్స్
+86-574-87168065

ఇ-మెయిల్

చిరునామా
Luotuo ఇండస్ట్రియల్ ఏరియా, Zhenhai జిల్లా, Ningbo సిటీ, చైనా
మీరు భారీ మెషినరీని నడుపుతున్నట్లయితే-ఉక్కు రోలింగ్ మిల్లులు లోహాన్ని మొత్తం షిఫ్ట్ చేయడం, టన్నుల కొద్దీ మెటీరియల్ని ఎత్తే క్రేన్లు లేదా భూగర్భంలో దుమ్ము మరియు ఒత్తిడితో పోరాడే మైనింగ్ గేర్ వంటివి-మీకు కప్లింగ్ అవసరం, అది మిమ్మల్ని నిరాశపరచదు. Raydafon యొక్క SWC-BH స్టాండర్డ్ ఫ్లెక్స్ వెల్డింగ్ టైప్ యూనివర్సల్ కప్లింగ్ దీని కోసం నిర్మించబడింది: ఉద్యోగం కఠినమైనది అయినప్పటికీ నమ్మదగిన టార్క్ ట్రాన్స్మిషన్.
మొదట, దాని డిజైన్ గురించి మాట్లాడండి. వెల్డెడ్ యోక్ కేవలం ఒక లక్షణం కాదు-ఇది గేమ్-ఛేంజర్. కాలక్రమేణా వదులుగా ఉండే బోల్టెడ్ యోక్స్లా కాకుండా, ఇది వెల్డెడ్ ఘనమైనది, కాబట్టి మీ మెషినరీ కష్టపడి పనిచేసేటప్పుడు భాగాలు వదులుగా వణుకుతున్న ప్రమాదం లేదు. మరియు ఇది 180mm నుండి 620mm వరకు గైరేషన్ డయామీటర్లతో కూడిన సెటప్ల శ్రేణికి సరిపోతుంది-ఒక-పరిమాణం-సరిపోదు-ఏదీ ఎంపిక కోసం వేటాడటం అవసరం లేదు. స్టాండర్డ్ ఫ్లెక్స్ యూనివర్సల్ కప్లింగ్గా, ఇది 15 డిగ్రీల వరకు కోణీయ మిస్అలైన్మెంట్ను నిర్వహిస్తుంది, అంటే మీ షాఫ్ట్లు సరిగ్గా వరుసలో లేకుంటే (అవి చాలా అరుదుగా ఉంటాయి), ఇది ఇప్పటికీ శక్తిని కదిలేలా చేస్తుంది. టార్క్ 1250 kN·mని తాకినప్పుడు కూడా—తీవ్రమైన శక్తి—అది నిలకడగా ఉంటుంది, నత్తిగా మాట్లాడటం లేదు, చుక్కలు ఉండదు.
మేము పదార్థాలను కూడా తగ్గించలేదు. ఈ వస్తువు 35CrMo స్టీల్తో తయారు చేయబడింది-గనిలో చుట్టుముట్టినప్పుడు లేదా రోలింగ్ మిల్లు దగ్గర వేడెక్కినప్పుడు కూడా, దుస్తులు ధరించకుండా నిరోధించే అధిక-బలమైన అంశాలు. అదనంగా, మేము ఖచ్చితమైన సూది బేరింగ్లను ఉంచాము, కనుక ఇది మృదువైన కదులుతుంది, ఘర్షణను తగ్గిస్తుంది మరియు చౌకైన కప్లింగ్ల కంటే ఎక్కువ కాలం ఉంటుంది. అందుకే భారీ యంత్రాల కోసం సార్వత్రిక కప్లింగ్స్ కోసం ఇది ఒక గో-టు-ఇది కేవలం కొన్ని వారాల పాటు పనిచేయదు; అది మీ పరికరాన్ని నడుపుతూ చుట్టూ అంటుకుంటుంది. మరియు మీరు పారిశ్రామిక అనువర్తనాల కోసం వెల్డెడ్ యూనివర్సల్ కప్లింగ్స్ అవసరమైతే? ఇది ఇదే- బోల్ట్ చేసిన ప్రత్యామ్నాయాల కంటే వెల్డెడ్ డిజైన్ కంపనం మరియు ఒత్తిడిని మెరుగ్గా నిర్వహిస్తుంది, కాబట్టి మీరు తక్కువ సమయం ఫిక్సింగ్ మరియు ఎక్కువ సమయం పని చేస్తారు.
Raydafon వద్ద, మేము వీటిని చైనాలో తయారు చేస్తాము, కానీ మేము నాణ్యతను తగ్గించము. ప్రతి దశ ISO 9001 ప్రమాణాలను అనుసరిస్తుంది-మేము ఉక్కును తనిఖీ చేస్తాము, మేము వెల్డింగ్లను తనిఖీ చేస్తాము, మేము బేరింగ్లను పరీక్షిస్తాము-కాబట్టి మీరు గ్లోబల్ క్వాలిటీ నియమాలకు అనుగుణంగా ఒక కప్లింగ్ని పొందుతున్నారని మీకు తెలుసు. మరియు మీ సెటప్ కొద్దిగా భిన్నంగా ఉంటే? మేము కస్టమ్ ట్వీక్లను చేస్తాము—పరిమాణాన్ని సర్దుబాటు చేయండి, స్పెక్స్ను సర్దుబాటు చేయండి—మీరు దాన్ని సరిపోయేలా చేయడానికి. ఉత్తమ భాగం? ఇది విలాసవంతమైన భాగం వలె ధర నిర్ణయించబడలేదు. మీరు అదృష్టాన్ని చెల్లించకుండా కష్టపడి పనిచేసే మన్నికైన యూనివర్సల్ కప్లింగ్ను పొందుతారు. డౌన్టైమ్ను భరించలేని ఎవరికైనా, ఈ SWC-BH కప్లింగ్ అనేది మీ మెషినరీని రోజు విడిచి రోజు కదిలేలా చేసే నమ్మకమైన భాగం.
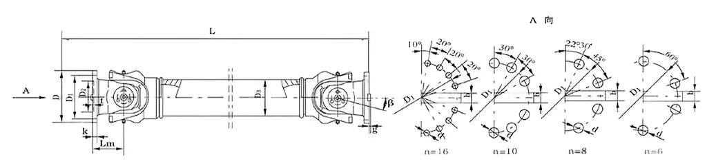
| నం. | గైరేషన్ వ్యాసం డి మి.మీ | నామమాత్రపు టార్క్ Tn KN·m | అక్షాలు మడత కోణం β (°) | అలసిపోయిన టార్క్ Tf KN·m | పరిమాణం (మిమీ) | తిరిగే జడత్వం kg.m2 | బరువు (కిలోలు) | |||||||||||
| Lmin | D1 (js11) | D2 (H7) | D3 | Lm | n-d | k | t | b (h9) | g | Lmin | పెంచండి 100మి.మీ | Lmin | పెంచండి 100మి.మీ | |||||
| SWC100WH | 100 | 1.25 | 0.63 | 25° | 243 | 84 | 57 | 60 | 55 | 6-9 | 7 | 2.5 | - | - | 0.0039 | 0.00019 | 4.5 | 0.35 |
| SWC120WH | 120 | 2.5 | 1.25 | 25° | 307 | 102 | 75 | 70 | 65 | 8-11 | 8 | 2.5 | - | - | 0.0096 | 0.00044 | 7.7 | 0.55 |
| SWC150WH | 150 | 5 | 25 | 25° | 350 | 130 | 90 | 89 | 80 | 8-13 | 10 | 3 | - | - | 0.371 | 0.00157 | 18 | 24.5 |
| SWC180WH | 180 | 12.5 | 6.3 | 25° | 180 | 155 | 105 | 114 | 110 | 8-17 | 17 | 5 | - | - | 0.15 | 0.007 | 48 | 2.8 |
| SWC225WH | 225 | 40 | 20 | 15° | 520 | 196 | 135 | 152 | 120 | 8-17 | 20 | 5 | 32 | 9 | 0.365 | 0.0234 | 78 | 4.9 |
| SWC250WH | 250 | 63 | 31.5 | 15° | 620 | 218 | 150 | 168 | 140 | 8-19 | 25 | 6 | 40 | 12.5 | 0.817 | 0.0277 | 124 | 5.3 |
| SWC285WH | 285 | 90 | 45 | 15° | 720 | 245 | 170 | 194 | 160 | 8-21 | 27 | 7 | 40 | 15 | 1.756 | 0.051 | 185 | 6.3 |
| SWC315WH | 315 | 125 | 63 | 15° | 805 | 280 | 185 | 219 | 219 | 10-23 | 32 | 8 | 40 | 15 | 2.893 | 0.0795 | 262 | 8 |
| SWC350WH | 350 | 180 | 90 | 15° | 875 | 310 | 210 | 267 | 194 | 10-23 | 35 | 8 | 50 | 16 | 5.013 | 0.2219 | 374 | 15 |
| SWC390WH | 390 | 250 | 125 | 15° | 955 | 345 | 235 | 267 | 215 | 10-25 | 40 | 8 | 70 | 18 | 8.406 | 0.2219 | 506 | 15 |
| SWC440WH | 440 | 355 | 180 | 15° | 1155 | 390 | 255 | 325 | 260 | 16-28 | 42 | 10 | 80 | 20 | 15.79 | 0.4744 | 790 | 21.7 |
| SWC490WH | 490 | 500 | 250 | 15° | 1205 | 435 | 275 | 325 | 270 | 16-31 | 47 | 12 | 90 | 22.5 | 26.54 | 0.4744 | 1014 | 21.7 |
| SWC550WH | 550 | 710 | 355 | 15° | 1355 | 492 | 320 | 426 | 325 | 16-31 | 50 | 12 | 100 | 22.5 | 48.32 | 1.357 | 1526 | 34 |
మీ పనిని నెమ్మదింపజేసే లేదా మీకు చాలా అవసరమైనప్పుడు విచ్ఛిన్నం చేసే ఫస్సీ కప్లింగ్లతో వ్యవహరించడంలో మీరు అలసిపోయినట్లయితే, ఫ్లెక్స్ వెల్డింగ్ టైప్ యూనివర్సల్ కప్లింగ్ లేకుండా Raydafon యొక్క SWC-WH గేమ్-ఛేంజర్. ఇది మెకానికల్ సిస్టమ్లలో మృదువైన టార్క్ ట్రాన్స్మిషన్ అవసరమయ్యే ఎవరికైనా ఉత్తమ ఎంపికగా ఉండే పెర్క్లతో నిండి ఉంది-గందరగోళ వెల్డింగ్ దశలు లేవు, మీ వర్క్ఫ్లోకి సరిగ్గా సరిపోయే పటిష్టమైన పనితీరు.
మొదట, ఈ విషయాన్ని ఇన్స్టాల్ చేయడం మీరు అనుకున్నదానికంటే చాలా సులభం. అదనపు సాధనాలను తీసుకురావడానికి లేదా వెల్డ్స్ సెట్ చేయడానికి వేచి ఉండటానికి మిమ్మల్ని బలవంతం చేసే వెల్డెడ్ కప్లింగ్ల వలె కాకుండా, SWC-WH బోల్ట్-ఆన్ డిజైన్ను ఉపయోగిస్తుంది. మీరు దీన్ని మీ ప్రస్తుత సెటప్లోకి వేగంగా స్లాట్ చేయవచ్చు మరియు నిర్వహణకు సమయం ఎప్పుడు? దీన్ని వేరుగా తీసుకోవడం ఒక గాలి, కాబట్టి మీ ఇండస్ట్రియల్ గేర్ తక్కువ సమయం పనిలేకుండా గడుపుతుంది. అందుకే ఇది చాలా గొప్ప బహుముఖ హై-టార్క్ యూనివర్సల్ జాయింట్ కప్లింగ్-డౌన్టైమ్ తలనొప్పులు లేవు, లోపలికి ప్రవేశించండి, మీకు కావాల్సిన వాటిని సరిదిద్దండి మరియు తిరిగి పని చేయండి.
మన్నిక వారీగా, ఇది కఠినంగా ఉండేలా నిర్మించబడింది. పెద్ద లోడ్లు మరియు స్థిరమైన వైబ్రేషన్లను కదలకుండా నిర్వహించే హెవీ-డ్యూటీ మెటీరియల్లను మేము ఉపయోగిస్తాము-పరికరాలకు నిజంగా విరామం లభించని బిజీ పారిశ్రామిక ప్రదేశాలకు ఇది సరైనది. మరియు వెల్డింగ్ లేనందున, వెల్డ్స్ కాలక్రమేణా అరిగిపోయినప్పుడు పాపప్ అయ్యే బలహీనమైన మచ్చల గురించి మీరు చింతించాల్సిన అవసరం లేదు. ఇది ప్రతి కొన్ని నెలలకొకసారి భర్తీ చేయాల్సిన కప్లింగ్ కాదు; ఇది మీ కార్యకలాపాలను స్థిరంగా ఉంచుతూ, చుట్టూ అంటుకునే పారిశ్రామిక యంత్రాల కోసం నమ్మదగిన యూనివర్సల్ జాయింట్ కప్లింగ్.
తప్పుగా అమరికలు? సమస్య లేదు. ముఖ్యంగా ఆటోమోటివ్ లేదా రవాణా వ్యవస్థలలో షాఫ్ట్లు ఎప్పుడూ సరిగ్గా వరుసలో ఉండవు, అయితే SWC-WH ప్రో వంటి కోణీయ, అక్షసంబంధ మరియు రేడియల్ విచలనాలను నిర్వహిస్తుంది. ఇది ఒక రకమైన డ్రైవ్ షాఫ్ట్ యూనివర్సల్ జాయింట్ కప్లింగ్, ఇది అలైన్మెంట్ వంకీగా ఉన్నప్పుడు కూడా శక్తిని సజావుగా కదిలేలా చేస్తుంది-కుదుపులు లేవు, చుక్కలు లేవు, స్థిరమైన పనితీరు.
మరియు ఖర్చు గురించి మాట్లాడుకుందాం. వెల్డింగ్ అదనపు శ్రమ మరియు వస్తు రుసుములను జోడిస్తుంది, కానీ ఈ కలపడం అన్నింటినీ దాటవేస్తుంది. మీరు అధిక ఖర్చు లేకుండా నాణ్యమైన ఉత్పత్తిని పొందుతారు, ఇది ఏ బడ్జెట్కైనా పెద్ద విజయం. మెరైన్ సెటప్ల వంటి గమ్మత్తైన ప్రదేశాలలో కూడా, తుప్పు అనేది స్థిరమైన ముప్పుగా ఉంటుంది, ఇది నమ్మదగిన మెరైన్ యూనివర్సల్ జాయింట్ కప్లింగ్గా ఉంటుంది-ఉప్పునీటికి వ్యతిరేకంగా కఠినమైనది, మీ వాలెట్లో సులభంగా ఉంటుంది.
మీరు పునరుత్పాదక శక్తిలో ఉన్నట్లయితే, ఈ కలపడం కూడా సరిగ్గా సరిపోతుంది. ఇది పునరుత్పాదక శక్తి పరికరాల కోసం ఒక ఘనమైన సార్వత్రిక ఉమ్మడి కలపడం, ఇది ఎటువంటి వ్యర్థాలతో శక్తిని సమర్ధవంతంగా కదిలిస్తుంది. అదనంగా, ఇది తేలికైనది, కాబట్టి ఇది మీ సిస్టమ్ను తగ్గించదు-పనితీరును త్యాగం చేయకుండా విషయాలు స్థిరంగా నడుస్తున్నందుకు గొప్పది.
Raydafonలో, మేము కేవలం కప్లింగ్లను మాత్రమే విక్రయించము-మేము మీ అవసరాలకు సరిపోయే వాటిని తయారు చేస్తాము. SWC-WH అనుకూలీకరించదగినది, కాబట్టి ఇది మీరు కోరుకున్న విధంగానే పని చేస్తుంది. ఇది మీ కార్యకలాపాలను ఎలా సులభతరం చేయగలదో మీకు ఆసక్తి ఉంటే, మా బృందాన్ని నొక్కండి. మేము దీని ద్వారా మిమ్మల్ని నడిపిస్తాము, పరిభాష లేదు-ఈ కలపడం మీ కోసం ఏమి చేయగలదో నేరుగా మాట్లాడండి.
Raydafon యొక్క SWC-WH వితౌట్ ఫ్లెక్స్ వెల్డింగ్ టైప్ యూనివర్సల్ కప్లింగ్ కార్డాన్ జాయింట్ మెకానిక్స్ యొక్క ప్రాథమిక పరిజ్ఞానం నుండి పని చేస్తుంది-కాని మేము పారిశ్రామిక ఉద్యోగాల కోసం మరింత కష్టతరం చేయడానికి దాన్ని సర్దుబాటు చేసాము. మొత్తం పాయింట్? సరిగ్గా వరుసలో లేని రెండు షాఫ్ట్ల మధ్య టార్క్ సజావుగా కదులుతుంది, అవి కోణంలో ఉన్నప్పటికీ. పర్పస్-బిల్ట్ SWC కార్డాన్ షాఫ్ట్ యూనివర్సల్ జాయింట్ కప్లింగ్గా, ఇది భ్రమణ శక్తిని స్థిరంగా ప్రవహించేలా చేయడానికి మధ్యలో క్రాస్-ఆకారపు భాగాన్ని ఉపయోగిస్తుంది-సరిగ్గా ఇది రోలింగ్ మిల్లులు లేదా మెషినరీని ఎత్తడం వంటి కఠినమైన పని కోసం హై-టార్క్ యూనివర్సల్ జాయింట్ కప్లింగ్.
ఇది ఎలా పని చేస్తుందో యొక్క ప్రధాన భాగాన్ని విచ్ఛిన్నం చేద్దాం: రెండు ఫోర్క్డ్ యోక్స్ ఉన్నాయి మరియు అవి సెంట్రల్ క్రాస్ ద్వారా అనుసంధానించబడి ఉన్నాయి (మేము దీనిని స్పైడర్ అని పిలుస్తాము). ఈ సెటప్ యోక్స్ను బహుళ దిశల్లో పివోట్ చేయడానికి అనుమతిస్తుంది-కాబట్టి షాఫ్ట్లు 25° వరకు ఆఫ్సెట్ చేయబడినా (అది దాని గరిష్ట అక్షం మడత కోణం), టార్క్ ఇప్పటికీ సమానంగా పంపబడుతుంది. దీనికి బ్యాకప్ చేయడానికి స్పెక్స్ కూడా ఉన్నాయి: గైరేషన్ డయామీటర్లు φ58 నుండి φ620 వరకు ఉంటాయి మరియు ఇది 0.15 నుండి 1000 kN·m వరకు నామమాత్రపు టార్క్ను నిర్వహిస్తుంది. మీరు రోలింగ్ మిల్లు కార్యకలాపాల కోసం భారీ-డ్యూటీ యూనివర్సల్ జాయింట్ కప్లింగ్గా దీన్ని ఉపయోగిస్తున్నప్పుడు, ఈ డిజైన్ అంటే ఇన్పుట్ రొటేషన్ ఎటువంటి ఆటంకం లేకుండా అవుట్పుట్ మోషన్గా మారుతుంది-అటువంటి ఉచ్చారణ జాయింట్లు తప్పుగా అమరికలను, అంతరాయాలను భర్తీ చేయడానికి వాటంతట అవే పైవట్ అవుతాయి.
"ఫ్లెక్స్ వెల్డింగ్ లేకుండా" భాగం ఏది ముఖ్యమైనది? మేము బోల్ట్ లేదా బిగించిన కనెక్షన్ల కోసం వెల్డ్స్ను మార్చుకున్నాము. వెల్డ్స్ కాలక్రమేణా బలహీనమైన మచ్చలు కావచ్చు, కానీ ఈ ఫాస్టెనర్లు వైఫల్య ప్రమాదాలను తగ్గిస్తాయి-మరియు అవి కలపడం కూడా సులభతరం చేస్తాయి. ఈ ఇండస్ట్రియల్ యూనివర్సల్ జాయింట్ కప్లింగ్లో అప్గ్రేడ్ చేయబడిన ఫోర్క్ హెడ్ డిజైన్ కూడా ఉంది, ఇది బోల్ట్లను వదులుకోకుండా ఆపి, దాని నిర్మాణ బలాన్ని 30%-50% పెంచుతుంది. గనులు లేదా నిర్మాణ స్థలాల వంటి డిమాండ్ ఉన్న ప్రదేశాలకు ఇది చాలా పెద్ద విషయం, ఇక్కడ ఇది మన్నికైన SWC యూనివర్సల్ జాయింట్ షాఫ్ట్ కప్లింగ్గా పనిచేస్తుంది-అవును ఇవ్వకుండా భారీ లోడ్లను కలిగి ఉంటుంది.
సమర్థత ఇక్కడ మరొక విజయం: ఇది 98.6% ప్రసార సామర్థ్యాన్ని తాకింది. ఘర్షణ మరియు శక్తి వ్యర్థాలను తగ్గించడానికి మేము ప్రతి భాగాన్ని రూపొందించాము-కాబట్టి ఇది అధిక-శక్తి పారిశ్రామిక సెటప్లలో పెద్ద పవర్ ట్రాన్స్మిషన్ కోసం సమర్థవంతమైన యూనివర్సల్ జాయింట్ కప్లింగ్లో ఆశ్చర్యం లేదు. మరియు ఇది నిశ్శబ్దంగా నడుస్తుంది: సాధారణంగా 30-40 dB(A). ఇది సమతుల్య భ్రమణం మరియు అంతర్నిర్మిత వైబ్రేషన్ డంపింగ్కు కృతజ్ఞతలు - ఇది శబ్దం సమస్య ఉన్న ప్రదేశాలకు తక్కువ-శబ్దం సార్వత్రిక ఉమ్మడి కలపడం. అదనంగా, ఇది శక్తి ఖర్చులను తగ్గిస్తుంది, కాబట్టి ఇది శక్తిని ఆదా చేసే యూనివర్సల్ జాయింట్ కప్లింగ్ అవసరాల కోసం బాక్స్ను తనిఖీ చేస్తుంది.
భారీ యంత్రాల యూనివర్సల్ జాయింట్ కప్లింగ్ సిస్టమ్స్లో, ఇది చాలా ముఖ్యమైనది: SWC-WH దాని అన్ని భాగాలలో శక్తులను సమానంగా విస్తరిస్తుంది. ఏ ఒక్క ముక్క కూడా ఎక్కువ ఒత్తిడిని తీసుకోదు, అంటే తక్కువ బ్రేక్డౌన్లు మరియు సుదీర్ఘ జీవితకాలం. Raydafonలో, మేము ఈ కప్లింగ్ని కేవలం స్పెక్స్ని అందుకోవడానికి మాత్రమే తయారు చేయము-అది కఠినమైన భారీ యంత్రాలు లేదా ప్రత్యేక పారిశ్రామిక సెటప్లు అయినా మీ పని కోసం పని చేయడానికి మేము దీన్ని రూపొందించాము. మీరు మీ సిస్టమ్ను సజావుగా లేదా ఎక్కువసేపు ఉండేలా చేయడానికి దాన్ని సర్దుబాటు చేయాలనుకుంటే, మా బృందంతో మాట్లాడండి—మీకు అవసరమైన దానికి సరిగ్గా సరిపోయే సెటప్ను పొందడానికి మేము మీకు సహాయం చేస్తాము.
⭐⭐⭐⭐⭐ జాంగ్ వీ, మెకానికల్ ఇంజనీర్, బీజింగ్ ఇండస్ట్రియల్ మెషినరీ కో., లిమిటెడ్.
మేము ఇప్పుడు కొన్ని నెలలుగా మా ఉత్పత్తి పరికరాలలో ఫ్లెక్స్ వెల్డింగ్ టైప్ యూనివర్సల్ కప్లింగ్ లేకుండా Raydafon యొక్క SWC-WHని కలిగి ఉన్నాము మరియు ఇది స్థిరమైన పనితీరును కలిగి ఉంది-ముఖ్యంగా మేము అధిక లోడ్లను నిర్వహించడానికి మా మెషీన్లను నెట్టివేస్తున్నప్పుడు. నేను నిజంగా అభినందిస్తున్నది దాని బలమైన నిర్మాణాన్ని: ఇతర భాగాలు క్షీణించడం ప్రారంభించే సుదీర్ఘమైన, డిమాండ్తో కూడిన షిఫ్ట్లలో కూడా, ఈ కప్లింగ్ పనులు సజావుగా నడుస్తుంది-యాదృచ్ఛిక వైబ్రేషన్లు లేవు, మన మొత్తం లైన్ను త్రోసివేసే ఆకస్మిక వైఫల్యాలు లేవు.
సంస్థాపన చాలా గాలి. సంక్లిష్టమైన దశలను గుర్తించడానికి మా బృందం గంటలు గడపవలసిన అవసరం లేదు; మేము దానిని త్వరగా మౌంట్ చేసాము మరియు అప్పటి నుండి దాన్ని సర్దుబాటు చేయవలసిన అవసరం లేదు. మా వంటి హెవీ-డ్యూటీ గేర్ల కోసం, విశ్వసనీయత మరియు నాణ్యత చర్చించబడవు మరియు ఈ కలపడం రెండు పెట్టెలను తనిఖీ చేస్తుంది. Raydafon వారు మేము ఇక్కడ పరిగణించగల భాగస్వామి అని నిరూపించారు-ఈ ఉత్పత్తి ఎలా కొనసాగుతోందనే దానిపై మేము నిజంగా సంతోషంగా ఉన్నాము.
⭐⭐⭐⭐⭐ జాన్ స్మిత్, ప్లాంట్ మేనేజర్, ఫ్లోరిడా మాన్యుఫ్యాక్చరింగ్, USA
నేను కొన్ని నెలల క్రితం మా ఫ్లోరిడా సదుపాయంలో Raydafon యొక్క SWC-WH కప్లింగ్ను ఉపయోగించాను మరియు ఇది మనకు అవసరమైనది-సరళమైనది, ఎటువంటి ఫస్ లేకుండా మరియు స్థిరంగా ప్రభావవంతంగా ఉంటుంది. పవర్ ట్రాన్స్మిషన్ స్థిరంగా ఉంటుంది, ఇది మా ఉత్పత్తిని వేగవంతం చేయడంలో కీలకం, మరియు నిర్వహణ కోసం మేము దానిని ఒకసారి తాకాల్సిన అవసరం లేదు. అది మాకు పెద్ద విజయం; తక్కువ సమయం ఫిక్సింగ్ భాగాలు అంటే పని పూర్తి చేయడానికి ఎక్కువ సమయం.
మేము మెషిన్లను కష్టపడి నడుపుతున్నప్పుడు, అధిక ఒత్తిడికి లోనవుతున్నప్పటికీ, ఈ కలపడం కుదరదు-ఇది కొనసాగుతూనే ఉంటుంది. ఇన్స్టాలేషన్ కూడా సూటిగా ఉంటుంది; మా సాంకేతిక నిపుణులు దీన్ని ఏ సమయంలోనైనా ఏర్పాటు చేశారు. మరియు మీరు ఆ పనితీరును సరసమైన ధరతో జత చేసినప్పుడు? ఇది ఘన విలువ. అదనంగా, మాకు శీఘ్ర ప్రశ్న వచ్చినప్పుడు Raydafon యొక్క కస్టమర్ మద్దతు అగ్రశ్రేణిలో ఉంది-వారు త్వరగా మాకు తిరిగి వచ్చారు. మేము వారి ఉత్పత్తులను లైన్లో ఉపయోగిస్తూ ఉంటాము.
⭐⭐⭐⭐⭐ రాబర్టో సిల్వా, ఆపరేషన్స్ డైరెక్టర్, సావో పాలో ఇంజనీరింగ్ సొల్యూషన్స్, బ్రెజిల్
మేము కొంతకాలంగా Raydafonతో భాగస్వామ్యాన్ని కలిగి ఉన్నాము, కానీ వారి SWC-WH వితౌట్ ఫ్లెక్స్ కప్లింగ్ మా కార్యకలాపాలలో ప్రత్యేకంగా నిలిచింది-ఇది పదే పదే దాని విలువైనదిగా నిరూపించబడింది. మీరు గమనించే మొదటి విషయం దాని ఘన నిర్మాణం; ఇది చివరి వరకు నిర్మించబడినట్లు అనిపిస్తుంది మరియు అది మా మెషినరీపై నమ్మకమైన పనితీరుకు అనువదిస్తుంది.
మేము ఈ కప్లింగ్కి మారడానికి ముందు, మేము మా పాత భాగాలపై తప్పుగా అమర్చడం మరియు అకాల దుస్తులు ధరించడం వల్ల తరచుగా పనికిరాకుండా పోతున్నాము. ఇప్పుడు? ఆ సమస్యలు తీరిపోయాయి. ఇది మా పనికిరాని సమయాన్ని తగ్గించింది, ఇది ఉత్పాదకతకు భారీ ప్రోత్సాహాన్ని అందించింది. మరియు సంస్థాపన? చాలా సులభం-మా బృందం ట్రబుల్షూటింగ్ సెటప్ సమయాన్ని వృథా చేయలేదు. పవర్ ట్రాన్స్మిషన్ పార్ట్లు అవసరమయ్యే ఏ కంపెనీకైనా వారు విశ్వసించగలరు, ఇది నో-బ్రైనర్. నేను దానిని ఖచ్చితంగా సిఫార్సు చేస్తాను.
⭐⭐⭐⭐⭐ పీటర్ ముల్లర్, టెక్నికల్ సూపర్వైజర్, స్టట్గార్ట్ మ్యానుఫ్యాక్చరింగ్ GmbH, జర్మనీ
మేము ఆరు నెలలకు పైగా మా స్టట్గార్ట్ ఉత్పత్తి సదుపాయంలో Raydafon యొక్క SWC-WH కప్లింగ్ని ఉపయోగిస్తున్నాము మరియు ఇది దోషరహితంగా ఉంది-తీవ్రంగా, మొత్తం సమయంలో ఒక్క సమస్య కూడా లేదు. దీని డిజైన్ సూటిగా ఉంటుంది, ఇది ఇన్స్టాలేషన్ను సిన్చ్గా చేస్తుంది; మా బృందం దానిని అమర్చింది మరియు ఏ సమయంలోనైనా వెళ్లడానికి సిద్ధంగా ఉంది, సంక్లిష్టమైన దశలు లేదా ప్రత్యేక సాధనాలు అవసరం లేదు.
అయితే, నిజంగా నన్ను ఆకట్టుకునేది నాణ్యత. వెల్డింగ్ శుభ్రంగా మరియు బలంగా ఉంది మరియు పదార్థాలు అధిక-గ్రేడ్గా అనిపిస్తాయి-అవి మూలలను కత్తిరించలేదని మీరు చెప్పగలరు. ఇది సాధారణ ఉపయోగంలో సంపూర్ణంగా ఉంచబడుతుంది, నెలల నిరంతర ఆపరేషన్ తర్వాత కూడా ధరించే సున్నా సంకేతాలను చూపుతుంది. ఈ ఉత్పత్తి పనితీరుపై మేము చాలా సంతోషంగా ఉన్నాము మరియు భవిష్యత్ ప్రాజెక్ట్ల కోసం ఉపయోగించడానికి ఇది ఇప్పటికే మా జాబితాలో ఉంది.
చిరునామా
Luotuo ఇండస్ట్రియల్ ఏరియా, Zhenhai జిల్లా, Ningbo సిటీ, చైనా
Tel
ఇ-మెయిల్


+86-574-87168065


Luotuo ఇండస్ట్రియల్ ఏరియా, Zhenhai జిల్లా, Ningbo సిటీ, చైనా
కాపీరైట్ © Raydafon టెక్నాలజీ గ్రూప్ కో., లిమిటెడ్ సర్వ హక్కులూ ప్రత్యేకించబడినవి.
Links | Sitemap | RSS | XML | గోప్యతా విధానం |
