QR కోడ్
మా గురించి
ఉత్పత్తులు
మమ్మల్ని సంప్రదించండి


ఫ్యాక్స్
+86-574-87168065

ఇ-మెయిల్

చిరునామా
Luotuo ఇండస్ట్రియల్ ఏరియా, Zhenhai జిల్లా, Ningbo సిటీ, చైనా
Raydafon యొక్క SWC-BH స్టాండర్డ్ ఫ్లెక్స్ వెల్డింగ్ టైప్ యూనివర్సల్ కప్లింగ్ హెవీ-డ్యూటీ టార్క్ ట్రాన్స్ఫర్ కోసం ప్రత్యేకంగా రూపొందించబడింది, ఇది డిమాండ్ చేసే భారీ యంత్రాల దృశ్యాలలో-రోలింగ్ మిల్లులు, క్రేన్లు మరియు మైనింగ్ పరికరాలను నిరంతరం అధిక ఒత్తిడికి గురిచేస్తాయి.
ఇది ఒక కీలకమైన డిజైన్ ఫీచర్గా వెల్డెడ్ యోక్తో వస్తుంది మరియు దాని గైరేషన్ వ్యాసాలు ఆచరణాత్మక పరిధిని కలిగి ఉంటాయి: 180mm నుండి 620mm వరకు. 15 డిగ్రీల వరకు కోణీయ తప్పుడు అమరికలను నిర్వహించగల సామర్థ్యం, అలాగే ఇది 1250 kN·m వరకు అధిక టార్క్ లోడ్లను తీసుకోగలదు-కఠినమైన పని పరిస్థితులలో కూడా కార్యకలాపాలను స్థిరంగా ఉంచడంలో కీలకం.
బిల్డ్ క్వాలిటీ మన్నికపై దృష్టి కేంద్రీకరిస్తుంది: కప్లింగ్ ఎక్కువ కాలం ఉండే మొండితనానికి 35CrMo స్టీల్ను ఉపయోగిస్తుంది, కాలక్రమేణా మృదువైన, నమ్మదగిన పనితీరును నిర్ధారించడానికి ఖచ్చితమైన సూది బేరింగ్లతో జత చేయబడింది. ఇది రెండు కీలక అవసరాల కోసం దీన్ని ఎంపిక చేస్తుంది: భారీ యంత్రాల కోసం రూపొందించిన యూనివర్సల్ కప్లింగ్లు మరియు ఇండస్ట్రియల్-గ్రేడ్ అప్లికేషన్లకు సరిపోయే వెల్డెడ్ యూనివర్సల్ కప్లింగ్లు.
రేడాఫోన్ చైనాలో ఈ కప్లింగ్ను తయారు చేస్తుంది మరియు అన్ని ఉత్పత్తి స్థిరమైన నాణ్యతకు హామీ ఇవ్వడానికి ISO 9001 ప్రమాణాలను అనుసరిస్తుంది. దాని పైన, ఇది నిర్దిష్ట అవసరాలకు సరిపోయేలా అనుకూల ఎంపికలను అందిస్తుంది-విశ్వసనీయత మరియు విలువ రెండింటి కోసం వెతుకుతున్న వ్యాపారాలకు పోటీగా ఉండే ధరలకే.
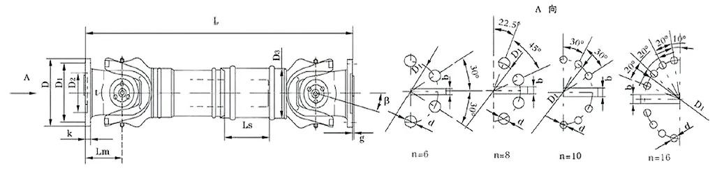
| నం. | గైరేషన్ వ్యాసం డి మి.మీ | నామమాత్రపు టార్క్ Tn KN·m | అక్షాలు మడత కోణం β (°) | అలసిపోయిన టార్క్ Tf KN·m | ఫ్లెక్స్ పరిమాణం Ls mm | పరిమాణం (మిమీ) | తిరిగే జడత్వం kg.m2 | బరువు (కిలోలు) | |||||||||||
| Lmin | D1 (js11) | D2 (H7) | D3 | Lm | n-d | k | t | బి (h9) | g | Lmin | పెంచండి 100మి.మీ | Lmin | పెంచండి 100మి.మీ | ||||||
| SWC58BH | 58 | 0.15 | 0.075 | ≤22 | 35 | 325 | 47 | 30 | 38 | 35 | 4-5 | 3.5 | 1.5 | - | - | - | - | 2.2 | - |
| SWC65BH | 65 | 0.25 | 0.125 | ≤22 | 40 | 360 | 52 | 35 | 42 | 46 | 4-6 | 4.5 | 1.7 | - | - | - | - | 3 | - |
| SWC75BH | 75 | 0.5 | 0.25 | ≤22 | 40 | 395 | 62 | 42 | 50 | 58 | 6-6 | 5.5 | 2 | - | - | - | - | 5 | - |
| SWC90BH | 90 | 1 | 0.5 | ≤22 | 45 | 435 | 74.5 | 47 | 54 | 58 | 4-8 | 6 | 2.5 | - | - | - | - | 6.6 | - |
| SWC100BH | 100 | 1.5 | 0.75 | ≤25 | 55 | 390 | 84 | 57 | 60 | 58 | 6-9 | 7 | 2.5 | - | - | 0.0044 | 0.00019 | 6.1 | 0.35 |
| SWC120BH | 120 | 2.5 | 1.25 | ≤25 | 80 | 485 | 102 | 75 | 70 | 68 | 8-11 | 8 | 2.5 | - | - | 0.0109 | 0.00044 | 10.8 | 0.55 |
| SWC150BH | 150 | 5 | 2.5 | ≤25 | 80 | 590 | 13 | 90 | 89 | 80 | 8-13 | 10 | 3 | - | - | 0.0423 | 0.00157 | 24.5 | 0.85 |
| SWC160BH | 160 | 10 | 5 | ≤25 | 80 | 660 | 137 | 100 | 95 | 110 | 8-17 | 15 | 3 | 20 | 12 | 0.145 | 0.006 | 68 | 1.72 |
| SWC180BH | 180 | 20 | 10 | ≤25 | 100 | 810 | 155 | 105 | 114 | 130 | 8-17 | 17 | 5 | 24 | 14 | 0.175 | 0.007 | 70 | 2.8 |
| SWC200BH | 200 | 32 | 16 | ≤15 | 110 | 860 | 170 | 120 | 127 | 135 | 8-17 | 19 | 5 | 28 | 16 | 0.31 | 0.013 | 86 | 3.6 |
| SWC225BH | 225 | 40 | 20 | ≤15 | 140 | 920 | 196 | 135 | 152 | 120 | 8-17 | 20 | 5 | 32 | 9 | 0.538 | 0.0234 | 122 | 4.9 |
| SWC250BH | 250 | 63 | 31.5 | ≤15 | 140 | 1035 | 218 | 150 | 168 | 140 | 8-19 | 25 | 6 | 40 | 12.5 | 0.966 | 0.0277 | 172 | 5.3 |
| SWC285BH | 285 | 90 | 45 | ≤15 | 140 | 1190 | 245 | 170 | 194 | 160 | 8-21 | 27 | 7 | 40 | 15 | 2.011 | 0.051 | 263 | 6.3 |
| SWC315BH | 315 | 125 | 63 | ≤15 | 140 | 1315 | 280 | 185 | 219 | 180 | 10-23 | 32 | 8 | 40 | 15 | 3.605 | 0.0795 | 382 | 8 |
| SWC350BH | 350 | 180 | 90 | ≤15 | 150 | 1410 | 310 | 210 | 267 | 194 | 10-23 | 35 | 8 | 50 | 16 | 7.053 | 0.2219 | 582 | 15 |
| SWC390BH | 390 | 250 | 125 | ≤15 | 170 | 1590 | 345 | 235 | 267 | 215 | 10-25 | 40 | 8 | 70 | 18 | 12.164 | 0.2219 | 738 | 15 |
| SWC440BH | 440 | 355 | 180 | ≤15 | 190 | 1875 | 390 | 255 | 325 | 260 | 16-28 | 42 | 10 | 80 | 20 | 21.42 | 0.4744 | 1190 | 21.7 |
| SWC490BH | 490 | 500 | 250 | ≤15 | 190 | 1985 | 435 | 275 | 325 | 270 | 16-31 | 47 | 12 | 90 | 22.5 | 32.86 | 0.4744 | 1452 | 21.7 |
| SWC550BH | 550 | 710 | 355 | ≤15 | 240 | 2300 | 492 | 320 | 426 | 305 | 16-31 | 50 | 12 | 100 | 22.5 | 68.92 | 1.357 | 2380 | 34 |
శక్తిని విశ్వసనీయంగా ప్రవహించే భారీ-డ్యూటీ ఇండస్ట్రియల్ గేర్ గురించి మాట్లాడేటప్పుడు, SWC యూనివర్సల్ జాయింట్ కప్లింగ్ (తరచుగా SWC కార్డాన్ షాఫ్ట్ యూనివర్సల్ జాయింట్ కప్లింగ్ అని పిలుస్తారు) అనేది చర్చించలేని భాగం. రోలింగ్ మిల్లులు, హాయిస్టింగ్ మెషినరీలు మరియు అన్ని రకాల కఠినమైన హెవీ మెషినరీ సిస్టమ్ల వంటి సెటప్లలో మీరు పని చేయడం చాలా కష్టంగా ఉంటుంది-పవర్ ట్రాన్స్మిషన్లో మూలలను కత్తిరించడం కేవలం ఎంపిక కాదు.
దాని ప్రధాన పని? సరిగ్గా వరుసలో లేని రెండు ట్రాన్స్మిషన్ షాఫ్ట్లను కనెక్ట్ చేయండి (యాదృచ్ఛికం కాని అక్షాలు) మరియు ఆపరేటింగ్ పరిస్థితులు కఠినమైనవి అయినప్పటికీ, పవర్ ఎటువంటి ఆటంకం లేకుండా కదులుతున్నట్లు నిర్ధారించుకోండి. నత్తిగా మాట్లాడటం లేదు, విరామాలు లేవు-ఇది చాలా ముఖ్యమైనప్పుడు స్థిరమైన బదిలీ.
ఈ పనితీరును సాధ్యం చేసే దాని కీలక స్పెక్స్ని విడదీద్దాం:
గైరేషన్ వ్యాసం: φ58 నుండి φ620 వరకు, పారిశ్రామిక అవసరాల యొక్క విస్తృత పరిధిని కవర్ చేస్తుంది. నామమాత్రపు టార్క్: 0.15 kN·m నుండి 1000 kN·m వరకు ఎక్కడైనా హ్యాండిల్ చేస్తుంది—అధిక టార్క్ డిమాండ్లకు కూడా తగినంత కండరం. అక్షం మడత కోణం: 25° వరకు పరిపూర్ణంగా పనిచేయగలదు. సమలేఖనమైంది.
ఇది ఎక్కడ ఎక్కువగా నిలుస్తుంది? రోలింగ్ మిల్లు కార్యకలాపాల గురించి ఆలోచించండి-ఇక్కడ ఇది మిల్లు యొక్క తీవ్రమైన ఒత్తిడిలో ఉండే నమ్మకమైన హెవీ-డ్యూటీ యూనివర్సల్ జాయింట్ కప్లింగ్గా పనిచేస్తుంది. లేదా లిఫ్టింగ్ మరియు మెటీరియల్ హ్యాండ్లింగ్ ఎక్విప్మెంట్లో, మన్నికైన SWC యూనివర్సల్ జాయింట్ షాఫ్ట్ కప్లింగ్గా, లోడ్లు తీవ్రంగా ఉన్నప్పుడు కూడా ఇది స్థిరంగా ఉంచుతుంది. ఇది కేవలం పని చేయదు-ప్రయాణం కష్టంగా ఉన్నప్పుడు ఇది కార్యకలాపాలను స్థిరంగా ఉంచుతుంది.
SWC యూనివర్సల్ జాయింట్ కప్లింగ్ కేవలం ఒకదానితో ఒకటి విసిరివేయబడదు-ఇది పనితీరు మరియు దీర్ఘాయువు రెండింటినీ పెంచే లక్షణాలతో పారిశ్రామిక సెట్టింగులలో కఠినంగా నిలబడటానికి గ్రౌండ్ నుండి ఇంజనీరింగ్ చేయబడింది. దాని నిర్మాణం బాగా పని చేస్తుందనే విషయాన్ని నిశితంగా పరిశీలిద్దాం.
స్మార్ట్, సురక్షితమైన డిజైన్
దాని ప్రధాన భాగంలో ఇంటిగ్రేటెడ్ ఫోర్క్ హెడ్ డిజైన్ ఉంది-ఇక్కడ బోల్ట్లతో కలిసి ఉంచబడిన ప్రత్యేక ముక్కలు లేవు. ఇతర సెటప్లతో సాధారణ తలనొప్పి అయిన బోల్ట్లు వదులుగా లేదా పగులగొట్టే ప్రమాదాన్ని ఇది తగ్గిస్తుంది. నిజానికి, ఈ డిజైన్ పాత శైలులతో పోలిస్తే నిర్మాణ బలాన్ని 30% నుండి 50% వరకు పెంచుతుంది. హెవీ మెషినరీ యూనివర్సల్ జాయింట్ కప్లింగ్పై ఆధారపడే ఎవరికైనా, విషయాలు తీవ్రంగా ఉన్నప్పుడు తక్కువ బ్రేక్డౌన్లు అని అర్థం. ఇది ఇతర భాగాలు విఫలమయ్యే అధిక-ఒత్తిడి వాతావరణంలో కూడా సజావుగా నడుస్తూ ఉండే దృఢమైన యూనివర్సల్ జాయింట్ కప్లింగ్ రకం.
భారాన్ని మోయడానికి నిర్మించబడింది
ఇది మీ సగటు కనెక్టర్ కాదు. SWC హెవీ-డ్యూటీ యూనివర్సల్ జాయింట్ కప్లింగ్ తీవ్రమైన బరువును నిర్వహించడానికి తయారు చేయబడింది-మైనింగ్ గేర్, నిర్మాణ యంత్రాలు మరియు ఇతర భారీ హిట్టర్లను ఆలోచించండి. మీకు కఠినమైన యూనివర్సల్ జాయింట్ కప్లింగ్ అవసరం అయినప్పుడు, అది ఒత్తిడిలో వెనక్కి తగ్గదు, ఇది అందిస్తుంది. ఇది పరిమాణం గురించి మాత్రమే కాదు; ఇది మెటీరియల్స్ మరియు ఇంజినీరింగ్తో కలిసి పని చేయడంతో పాటు వేగంగా అరిగిపోకుండా పని చేస్తుంది.
శక్తిని సమర్ధవంతంగా తరలిస్తుంది
పెద్ద పారిశ్రామిక సెటప్లలో మొత్తం శక్తి ఎక్కడికి వెళుతుందో ఎప్పుడైనా ఆలోచిస్తున్నారా? ఇక్కడ ఎక్కువ వృధా కాదు. ఈ అధిక-టార్క్ యూనివర్సల్ జాయింట్ కప్లింగ్ 98.6% వరకు సామర్థ్య స్థాయిలను తాకుతుంది, అంటే వేడి లేదా రాపిడి వంటి తక్కువ శక్తిని కోల్పోతుంది. ఖర్చులను తగ్గించుకోవాలని చూస్తున్న కార్యకలాపాలకు, అది పెద్ద విజయం. ఇది పెద్ద పవర్ ట్రాన్స్మిషన్ సిస్టమ్లలో వ్యత్యాసాన్ని కలిగించే సమర్థవంతమైన యూనివర్సల్ జాయింట్ కప్లింగ్ రకం, ఇది శక్తి బిల్లులను అదుపులో ఉంచే విశ్వసనీయ యూనివర్సల్ జాయింట్ కప్లింగ్గా పనిచేస్తుంది.
నిశ్శబ్దంగా మరియు స్థిరంగా
ముఖ్యంగా శబ్దం ముఖ్యమైన ప్రదేశాలలో పెద్ద శబ్దంతో కూడిన యంత్రాలు నిజమైన సమస్య కావచ్చు. SWC యూనివర్సల్ జాయింట్ కప్లింగ్ సాధారణ సంభాషణ కంటే సాధారణంగా 30-40 dB(A) మధ్య శబ్ద స్థాయిలతో ప్రశాంతంగా ఉంటుంది. ఇది మీకు అవసరమైన విశ్వసనీయతను త్యాగం చేయకుండా, ధ్వనిని తగ్గించడం కీలకమైన వాతావరణాల కోసం ఇది గొప్ప తక్కువ-శబ్దం సార్వత్రిక ఉమ్మడి కలయికగా చేస్తుంది. ఇది ఫ్యాక్టరీ అంతస్తులో ఉన్నా లేదా ఖచ్చితమైన వర్క్షాప్లో అయినా, ఈ సాఫీగా నడిచే యూనివర్సల్ జాయింట్ కప్లింగ్ రాకెట్ లేకుండా పనిని పూర్తి చేస్తుంది.
SWC-BH స్టాండర్డ్ ఫ్లెక్స్ వెల్డింగ్ టైప్ యూనివర్సల్ కప్లింగ్ అనేది మరొక భాగం మాత్రమే కాదు-ఇది యంత్రాలు అధిక ఒత్తిడికి లోనవుతున్నప్పుడు కూడా శక్తిని సమర్థవంతంగా తరలించడానికి నిర్మించిన వర్క్హోర్స్. అది నిజంగా ప్రకాశించే చోట విచ్ఛిన్నం చేద్దాం.
ఉదాహరణకు, భారీ యంత్రాలు మరియు నిర్మాణ సామగ్రిని తీసుకోండి. మీరు విపరీతమైన లోడ్లు మరియు స్థిరమైన వైబ్రేషన్లతో వ్యవహరిస్తున్నప్పుడు-ఎక్స్కవేటర్లు లేదా బుల్డోజర్లను ఆలోచించండి-ఈ కలపడం వెనక్కి తగ్గదు. దీని వెల్డెడ్ డిజైన్ అదనపు మొండితనాన్ని జోడిస్తుంది, కాబట్టి ఇది అన్ని కదలికల నుండి పగులగొట్టే లేదా ధరించే సన్నని ఎంపికలను అధిగమిస్తుంది. ఇది ఒక రకమైన అధిక-టార్క్ యూనివర్సల్ కప్లింగ్, ఇది ఉద్యోగం ఎంత కఠినమైనది అయినప్పటికీ, శక్తిని ప్రవహిస్తుంది.
కర్మాగారాల్లో, ముఖ్యంగా కన్వేయర్ లైన్లు మరియు అసెంబ్లీ సిస్టమ్స్లో, ఖచ్చితత్వ విషయాలు. ఈ ఇండస్ట్రియల్-గ్రేడ్ యూనివర్సల్ కప్లింగ్ యాంగిల్స్ను హ్యాండిల్ చేస్తుంది మరియు బీట్ను దాటవేయకుండా అమరికలో మార్పులను నిర్వహిస్తుంది, వేగాన్ని స్థిరంగా ఉంచుతుంది. అంటే బ్రేక్డౌన్లను పరిష్కరించడానికి తక్కువ సమయం మరియు ఉత్పత్తిని ట్రాక్లో ఉంచడానికి ఎక్కువ సమయం. ఇంజనీర్లు దీన్ని ఇష్టపడతారు ఎందుకంటే ఇది అక్షసంబంధ, రేడియల్ మరియు కోణీయ మిస్లైన్మెంట్లకు అనుగుణంగా ఉంటుంది-ఇతర భాగాలను విసిరివేయగల చిన్న మార్పులు.
ఆటోమోటివ్ మరియు రవాణాలో, డ్రైవ్ షాఫ్ట్లకు పవర్ సాఫీగా పాస్ కావడానికి నమ్మదగినది అవసరం. SWC-BH ట్రక్కులు, రైళ్లు లేదా ఇతర వాహనాల్లో అయినా సరిగ్గా సరిపోతుంది. దీని ఫ్లెక్స్ వెల్డింగ్ డిజైన్ ఇప్పటికే ఉన్న సెటప్లలోకి స్లాట్ చేయడాన్ని సులభతరం చేస్తుంది, భద్రతపై మూలలను కత్తిరించకుండా అధిక వేగాన్ని నిర్వహిస్తుంది. ఇది వస్తువులను కదలకుండా ఉంచడానికి గో-టు డ్రైవ్ షాఫ్ట్ యూనివర్సల్ కప్లింగ్.
సముద్ర మరియు ఆఫ్షోర్ పని పరికరాలు-ఉప్పునీరు, కఠినమైన వాతావరణం, అనూహ్యమైన లోడ్ల విషయంలో కఠినమైనది. ఈ కలపడం ఇక్కడ కూడా దాని స్వంతం. తుప్పు-నిరోధక మెరైన్ యూనివర్సల్ కప్లింగ్గా, ఇది సాల్ట్ స్ప్రే మరియు కఠినమైన సముద్రాలకు అండగా నిలుస్తుంది, ఓడ ఇంజిన్లు మరియు సహాయక యంత్రాలను స్థిరంగా నడుపుతుంది. తుప్పు సంబంధిత వైఫల్యాలు లేవు, ఊహించని షట్డౌన్లు లేవు.
విండ్ టర్బైన్లు మరియు సోలార్ ట్రాకర్ల వంటి పునరుత్పాదక శక్తి సెటప్లకు శక్తిని వృథా చేయని భాగాలు అవసరం. SWC-BH పునరుత్పాదక శక్తి యూనివర్సల్ కప్లింగ్గా అడుగులు వేస్తుంది, ఎటువంటి ఎదురుదెబ్బతో శక్తిని బదిలీ చేస్తుంది. ఇది ప్రపంచ నాణ్యతా ప్రమాణాలకు అనుగుణంగా ఉంటుంది, కనుక ఇది ఐరోపాలోని విండ్ ఫామ్లో ఉన్నా లేదా ఆసియాలోని సోలార్ ప్లాంట్లో అయినా, అది అందిస్తుంది.
Raydafon వద్ద, మేము ఈ కప్లింగ్లను మాత్రమే విక్రయించము-మేము వాటిని టైలర్ చేస్తాము. నిర్దిష్ట పరిమాణం, పదార్థం లేదా టార్క్ సామర్థ్యం కావాలా? మీ ఖచ్చితమైన అవసరాలకు సరిపోయేలా మా బృందం SWC-BHని సర్దుబాటు చేస్తుంది. చేరుకోండి మరియు మీ సిస్టమ్ నుండి ఎక్కువ ప్రయోజనం పొందడానికి మేము మీకు సహాయం చేస్తాము.
మీరు మెకానికల్ కాంపోనెంట్లతో విశ్వసించే వారి కోసం వెతుకుతున్నప్పుడు-ముఖ్యంగా SWC-BH స్టాండర్డ్ ఫ్లెక్స్ వెల్డింగ్ టైప్ యూనివర్సల్ కప్లింగ్ లాంటివి-రేడాఫోన్ మరొక ఎంపిక కాదు. మేము నాణ్యతతో జీవించే మరియు శ్వాసించే తయారీదారులం, మరియు మేము తయారుచేసే ప్రతి భాగాన్ని చూపుతుంది.
మొదటగా, నాణ్యత మాకు ఒక ఆలోచన కాదు. మేము టాప్-టైర్ ఇంజినీరింగ్ టెక్నిక్లను ఉపయోగిస్తాము మరియు ప్రతి ఒక్క యూనివర్సల్ జాయింట్ కప్లింగ్ను ఉంచుతాము-ఇది భారీ యంత్రాల కోసం అధిక-టార్క్ లేదా ఫ్యాక్టరీ సెటప్ల కోసం పారిశ్రామిక-గ్రేడ్ మోడల్ అయినా-కఠినమైన తనిఖీల ద్వారా. ప్రతి భాగం ISO 9001 ప్రమాణాలకు అనుగుణంగా ఉంటుంది మరియు మేము వాటిని కఠినంగా పరీక్షిస్తాము: విపరీతమైన లోడ్లు, కఠినమైన పరిస్థితులు, మీ పరిశ్రమ దేనిపైకి విసిరినా. లక్ష్యం? ఊహించని వైఫల్యాలు లేవు, మీ కార్యకలాపాలకు తక్కువ ప్రమాదం మరియు మీ సిస్టమ్లను సజావుగా అమలు చేసే కప్లింగ్.
అప్పుడు అనుకూలీకరణ ఉంది. నిజమేననుకుందాం-ఏ రెండు ఉద్యోగాలు ఒకేలా ఉండవు. మీకు నిర్దిష్ట కొలతలు కలిగిన డ్రైవ్ షాఫ్ట్ యూనివర్సల్ కప్లింగ్ లేదా తుప్పు-నిరోధక పదార్థంతో తయారు చేయబడిన మెరైన్ ప్రొపల్షన్ యూనివర్సల్ కప్లింగ్ లేదా సరైన టార్క్ కోసం ట్యూన్ చేయబడిన పునరుత్పాదక శక్తి యూనివర్సల్ కప్లింగ్ కూడా అవసరం కావచ్చు. మేము మిమ్మల్ని "ఒకే-పరిమాణం-అందరికీ సరిపోయే" భాగానికి సరిపోయేలా చేయము. మీకు ఏమి కావాలో మాకు చెప్పండి మరియు మేము ఆటోమోటివ్, మెరైన్ లేదా సోలార్/విండ్ సిస్టమ్లలోని మీ ప్రస్తుత సెటప్లో సరిగ్గా స్లాట్ అయ్యేలా చేస్తాము.
మరియు మేము ఆ ఖర్చు విషయాలను కూడా పొందుతాము. మీరు మంచి కలపడం మరియు సరసమైన ధర మధ్య ఎంచుకోవలసిన అవసరం లేదు. మేము మా సరఫరా గొలుసును ఆప్టిమైజ్ చేసాము మరియు మా ఉత్పత్తిని స్కేల్ చేసాము, అందువల్ల మేము నాణ్యతపై మూలలను తగ్గించకుండా-ఆ సముద్ర ప్రొపల్షన్ యూనివర్సల్ కప్లింగ్ లేదా హై-టార్క్ ఇండస్ట్రియల్ మోడల్ వంటి ప్రత్యేక భాగాలపై కూడా పోటీ ధరలను అందించగలము. ఇది మీకు శాశ్వతమైన విలువను ఇవ్వడం గురించి, వేగంగా విఫలమయ్యే చౌకైన భాగం మాత్రమే కాదు.
మీరు ఒకసారి "ఆర్డర్" నొక్కితే మా బృందం అదృశ్యం కాదు. మొదటి కాల్ నుండి—మీ పునరుత్పాదక శక్తి గేర్ లేదా ఫ్యాక్టరీ లైన్కు ఏ యూనివర్సల్ జాయింట్ కప్లింగ్ ఉత్తమంగా పనిచేస్తుందో గుర్తించడానికి ప్రయత్నిస్తున్నప్పుడు—మీకు ఏవైనా సందేహాలు ఉంటే అమ్మకాల తర్వాత మద్దతు వరకు, మేము ఇక్కడ ఉన్నాము. మాకు చాలా సంవత్సరాల పరిశ్రమ పరిజ్ఞానం ఉంది, కాబట్టి మేము మీకు సరైన ఎంపికకు మార్గనిర్దేశం చేస్తాము, పనికిరాని సమయాన్ని నివారించడంలో మీకు సహాయపడతాము మరియు మీ కప్లింగ్ మీకు ఏది అవసరమో అది ఖచ్చితంగా చేస్తుందని నిర్ధారించుకోండి.
Raydafonలో, మేము కేవలం విడిభాగాలను విక్రయించడం లేదు-మేము భాగస్వామ్యాలను నిర్మిస్తున్నాము. సార్వత్రిక ఉమ్మడి పరిష్కారాలతో మీ కార్యకలాపాలు ముందుకు సాగడానికి మీరు విశ్వసించే బృందంగా మేము ఉండాలనుకుంటున్నాము. మీకు నిర్దిష్ట అవసరాలు ఉంటే, ఈరోజే మా నిపుణులను సంప్రదించండి-మేము ఎలా సహాయం చేయవచ్చనే దాని గురించి మాట్లాడుదాం.
చిరునామా
Luotuo ఇండస్ట్రియల్ ఏరియా, Zhenhai జిల్లా, Ningbo సిటీ, చైనా
Tel
ఇ-మెయిల్


+86-574-87168065


Luotuo ఇండస్ట్రియల్ ఏరియా, Zhenhai జిల్లా, Ningbo సిటీ, చైనా
కాపీరైట్ © Raydafon టెక్నాలజీ గ్రూప్ కో., లిమిటెడ్ సర్వ హక్కులూ ప్రత్యేకించబడినవి.
Links | Sitemap | RSS | XML | గోప్యతా విధానం |
